近日,由人民網主辦的人民匠心獎評選落下帷幕。惠達衛浴憑借其創新研發的衛生陶瓷新型沖水技術,榮獲“人民匠心技術獎”殊榮。這標志著惠達衛浴為消費者帶來了更為優質的生活體驗,并且對其在推動衛浴行業技術進步方面所做出的杰出貢獻給予了肯定。

圖:惠達衛浴榮獲人民匠心技術獎
人民匠心技術獎評選活動旨在表彰在我國各行業中具有創新精神、工匠精神和技術實力的企業,以激勵更多企業投入到技術研發和創新中來,推動產業升級和技術進步。此次獲獎,是對惠達衛浴長期以來致力于技術創新和提升產品質量的充分肯定。

作為國內領軍衛浴品牌,惠達衛浴一直以來都致力于技術創新和產品研發。此次獲獎的新型沖水技術,是惠達衛浴依托自身技術優勢及產業優勢,引入計算機仿真技術,推動了衛浴產品在節水、環保、高效排放等方面的創新突破。該技術已獲得國家發明專利,同時通過世界知識產權組織進行了12個國家及地區的專利申請。截至2023年11月,俄羅斯、越南已授權,埃及及歐洲專利局下屬9國進入公開階段。運用該技術方案開發的產品,已經通過了SGS、ITS、Intertek等多家第三方檢測及認證機構的檢測認證,并銷往英國、法國、俄羅斯、烏克蘭等多個海外國家。

事實上,這項技術方案產生了較大的經濟效益和社會效益。它不僅實現了產品結構簡化、生產難度降低、操作人員勞動強度減小,人均日產能可提升10%-15%,產品良品率大幅提升,而且打破了國外技術的壟斷,對推動國內衛生陶瓷行業的發展和提高自主品牌核心競爭力具有重要的意義。
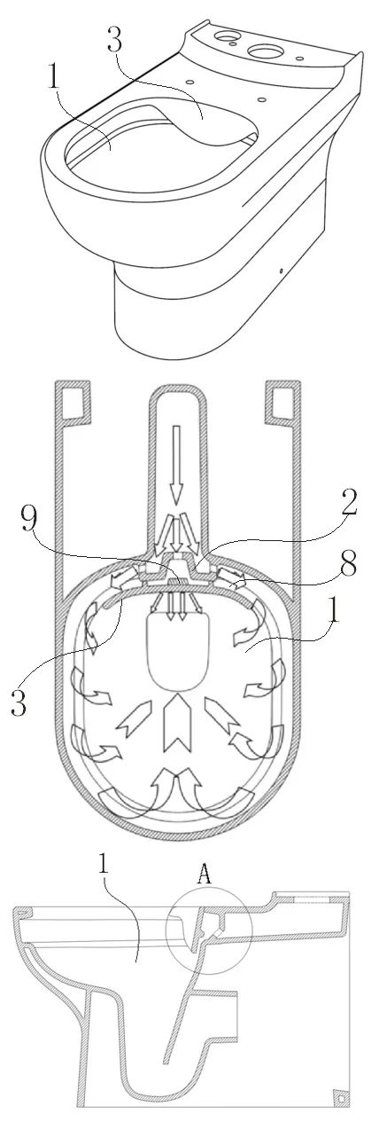
據介紹,該技術方案通過在坐便器主水道前端設置分流板,控制沖洗水分配比例。進一步通過設置擋流板和對沖導流腔及后沖導水腔的結構設計,對沖洗水進行再次分配。這種設計使沖洗水分配比例更加合理,從而實現了沖洗水分配合理、出水穩定、沖洗水無飛濺、沖水噪音小、排污更徹底的技術效果,助力我國衛浴行業實現可持續發展。

惠達衛浴榮獲人民匠心技術獎,體現了企業對技術創新的重視和投入,也為行業樹立了典范,更是對惠達衛浴為行業發展作出貢獻的褒獎。在新時代背景下,衛浴行業正面臨著轉型升級的壓力和挑戰,惠達衛浴將積極發揮引領作用,秉持工匠精神,專注于技術研發,堅持綠色發展理念,推動我國衛浴行業實現高質量發展,也為消費者創造了更加美好的衛浴生活。
手機瀏覽陶衛網









